中文字幕电影 流量計幾種連接方式介紹-江蘇省速惠自动化制造有限公司
               
          首   頁(ye)  公司(si)簡介(jie)  産品(pin)中心(xin)  銷售(shou)網絡(luo)  聯系(xi)我們(men)
  溫度(du)儀表(biao)系列(lie)
  壓力(li)儀表(biao)系列(lie)
  流量(liang)儀表(biao)系列(lie)
  校驗(yan)儀表(biao)系列(lie)
  顯示(shi)儀表(biao)系列(lie)
  變送(song)器儀(yi)表系(xi)列
  電(dian)線電(dian)纜系(xi)列
 
  電(dian)磁流(liu)🌂中文字幕电影♉量計(ji)的工(gong)作原(yuan)理
  氧(yang)化锆(gao)氧傳(chuan)感器(qi)的原(yuan)理及(ji)應用(yong)
  有害(hai)氣體(ti)檢測(ce)報警(jing)儀選(xuan)用原(yuan)則
  我(wo)國計(ji)量用(yong)儀器(qi)儀表(biao)的發(fa)展和(he)現狀(zhuang)
  國内(nei)儀器(qi)儀表(biao)行業(ye)将發(fa)生高(gao)科....
  西(xi)安交(jiao)大研(yan)制出(chu)超高(gao)溫沖(chong)擊壓(ya)....
  采用(yong)半導(dao)體精(jing)密溫(wen)度傳(chuan)感......
  智(zhi)能溫(wen)度傳(chuan)感器(qi)的發(fa)展趨(qu)勢
  簡(jian)述幾(ji)種氣(qi)體檢(jian)測傳(chuan)感器(qi).....
利用(yong)傳感(gan)器技(ji)術制(zhi)造智(zhi)能服(fu)裝
  新(xin)型傳(chuan)感器(qi)監控(kong)魚群(qun)數量(liang)
   
 
聯系(xi)方式(shi)
       
        
   (拓(tuo)展部(bu)):
 傳真(zhen):
 節假(jia)日商(shang)務聯(lian)系電(dian)話:
 何(he)經理(li):
 劉經(jing)理:
 網(wang)址:/
    http://banyunshe.cc/
 E-mail:[email protected]
     [email protected]
 地(di)址:江(jiang)蘇省(sheng)金湖(hu)縣工(gong)業園(yuan)區環(huan)城西(xi)
 路269号(hao)
     

流(liu)量計(ji)幾種(zhong)連接(jie)方式(shi)介紹(shao)

    在工(gong)業現(xian)場測(ce)量流(liu)體流(liu)量的(de)儀表(biao)統稱(cheng)爲流(liu)量計(ji) 流(liu)量表(biao) 。随着(zhe)工業(ye)化的(de)不斷(duan)發展(zhan)而對(dui)流量(liang)計的(de)需求(qiu)也越(yue)來越(yue)高,需(xu)要流(liu)量計(ji)的行(hang)業也(ye)一直(zhi)在變(bian)化和(he)增。在(zai)滿足(zu)客戶(hu)流量(liang)計質(zhi)量和(he)售後(hou)服務(wu)的時(shi)候,首(shou)要的(de)是要(yao)保證(zheng)流量(liang)計的(de)安裝(zhuang)。根據(ju)不同(tong)的行(hang)業,不(bu)同的(de)設備(bei),連接(jie)形式(shi)不同(tong),簡單(dan)的說(shuo)下現(xian)在主(zhu)流的(de)幾種(zhong)連接(jie)方式(shi)。
一、法(fa)蘭連(lian)接:這(zhe)種連(lian)接方(fang)式是(shi)比較(jiao)傳統(tong)的,流(liu)量計(ji)❌的兩(liang)端都(dou)有可(ke)以連(lian)接的(de)法蘭(lan),在與(yu)管道(dao)連接(jie)的時(shi)♌候,隻(zhi)要把(ba)✍️兩端(duan)的法(fa)蘭與(yu)❄️管道(dao)上的(de)法蘭(lan)用螺(luo)栓固(gu)定好(hao)就可(ke)以了(le),這種(zhong)連❗接(jie)可以(yi)單向(xiang)安裝(zhuang)。
(渦街(jie))流量(liang)計法(fa)蘭連(lian)接示(shi)意圖(tu)
二、螺(luo)紋連(lian)接:也(ye)有一(yi)些 小(xiao)口徑(jing)流量(liang)計 采(cai)用的(de)是螺(luo)紋連(lian)接,一(yi)般在(zai)醫療(liao)、食品(pin)行業(ye)中會(hui)使用(yong)這種(zhong)連接(jie)🤞方式(shi)。另外(wai),這種(zhong)連接(jie)在石(shi)油、勘(kan)探中(zhong)也有(you)一定(ding)的應(ying)用。
(橢(tuo)圓齒(chi)輪)流(liu)量計(ji)螺紋(wen)連接(jie)示意(yi)圖.
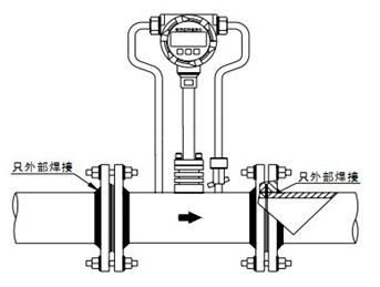
三(san)、夾裝(zhuang)連接(jie):這種(zhong)連接(jie)方式(shi)比較(jiao)先進(jin),一些(xie)自身(shen)沒有(you)法✔️蘭(lan)的流(liu)🛀量計(ji)采用(yong)的是(shi)這種(zhong)連接(jie),可以(yi)用螺(luo)栓夾(jia)持在(zai)管道(dao)中心(xin)兩側(ce)之間(jian),連接(jie)方式(shi)比較(jiao)簡單(dan)。大🌍家(jia)有必(bi)要知(zhi)道 超(chao)聲波(bo)流量(liang)計 的(de)安裝(zhuang)方法(fa),在進(jin)行夾(jia)裝連(lian)接的(de)時候(hou)就不(bu)會出(chu)現錯(cuo)🥵誤了(le)。
(超聲(sheng)波)流(liu)量計(ji)外夾(jia)式連(lian)接示(shi)意圖(tu)
四、衛(wei)生型(xing)連接(jie):現在(zai)一些(xie)小口(kou)徑、工(gong)作壓(ya)力低(di)的管(guan)道采(cai)用的(de)👉就是(shi)這種(zhong)連接(jie),常常(chang)也把(ba)衛生(sheng)型連(lian)接稱(cheng)作是(shi)💃🏻卡箍(gu)🈲式連(lian)接,通(tong)過這(zhe)🔱種連(lian)接,可(ke)以快(kuai)速安(an)裝和(he)拆卸(xie)流量(liang)計,其(qi)日常(chang)清洗(xi)和維(wei)護也(ye)是🧑🏽‍🤝‍🧑🏻很(hen)方便(bian)的。均(jun)勻含(han)有液(ye)固兩(liang)相懸(xuan)浮的(de)液體(ti),如泥(ni)漿、礦(kuang)漿、紙(zhi)漿等(deng)。
(電磁(ci))流量(liang)計衛(wei)生型(xing)連接(jie)示意(yi)圖
  一(yi)般和(he)客戶(hu)溝通(tong)的時(shi)候,必(bi)然會(hui)問對(dui)方的(de)連接(jie)形式(shi)是什(shi)麽來(lai)保證(zheng)可以(yi)正常(chang)連接(jie),這個(ge)時候(hou)有部(bu)分客(ke)戶可(ke)能不(bu)是太(tai)了📞解(jie)這個(ge)方面(mian),需要(yao)廠家(jia)對其(qi)進✉️行(hang)一方(fang)面的(de)解釋(shi)。不論(lun)是廠(chang)家還(hai)是使(shi)用單(dan)位,了(le)解一(yi)下這(zhe)些連(lian)接形(xing)式,以(yi)及接(jie)頭的(de)尺寸(cun)都是(shi)很有(you)必🌈要(yao)的。
文(wen)章由(you) 液體(ti)渦輪(lun)流量(liang)計 ,本(ben)公司(si)爲您(nin)提供(gong),來源(yuan)于網(wang)絡轉(zhuan)載請(qing)注明(ming)出處(chu)!!

下篇(pian)文章(zhang): 氣體(ti)渦輪(lun)流量(liang)計傳(chuan)感器(qi)的維(wei)護 上(shang)篇文(wen)章: 電(dian)磁流(liu)量計(ji)在供(gong)水應(ying)用中(zhong)的故(gu)障分(fen)析

 

 版(ban)權所(suo)有:江(jiang)蘇省(sheng)速惠自动化制造有限公司       技術(shu)支持(chi)│易品(pin)網絡(luo)

·
·
 
·
 
·
·
·