国产激情视频 不鏽鋼玻璃轉子流量計-江蘇省速惠自动化制造有限公司
               
                   
        首   頁(ye)  公司(si)簡介(jie)  産品(pin)中心(xin)  質量(liang)體系(xi)  銷售(shou)網絡(luo)  聯系(xi)我們(men)
 
  溫度(du)儀表(biao)系列(lie)
  壓力(li)儀表(biao)系列(lie)
  流量(liang)儀表(biao)系列(lie)
  校驗(yan)儀表(biao)系列(lie)
  顯示(shi)儀表(biao)系列(lie)
  變送(song)器儀(yi)表系(xi)列
  電(dian)線電(dian)纜系(xi)列
聯系(xi)方式(shi)
 電話(hua)(市場(chang)部):  
       
        
   (拓(tuo)展部(bu)):
 傳真(zhen):
 郵(you)編:211600
 網(wang)址:/
    http://banyunshe.cc/
 E-mail:[email protected]
     [email protected]
 地(di)址:江(jiang)蘇省(sheng)金湖(hu)縣工(gong)業園(yuan)區環(huan)城西(xi)
 路269号(hao)
 您現(xian)在的(de)位置(zhi) > 首頁(ye) > 流量(liang)儀表(biao) > 不鏽(xiu)鋼玻(bo)璃轉(zhuan)子流(liu)量計(ji)

SK-LZB-()B型不(bu)鏽鋼(gang)玻璃(li)轉子(zi)流量(liang)計

   SK-LZB()B/LZJ系(xi)列 不(bu)鏽鋼(gang)玻璃(li)轉子(zi)流量(liang)計 廣(guang)泛應(ying)用于(yu)化工(gong)、石油(you)、輕工(gong)、醫藥(yao)、環保(bao)、食品(pin)及計(ji)量測(ce)試、科(ke)學🏃研(yan)究等(deng)部門(men),測量(liang)單相(xiang)非脈(mo)動流(liu)體(液(ye)體或(huo)氣⭐體(ti))的流(liu)量🈲。
   SK-LZB/( )F/LZJ-( )F系(xi)列耐(nai)腐型(xing)玻璃(li)轉子(zi)流量(liang)計有(you)較強(qiang)的耐(nai)腐性(xing)能,可(ke)檢測(ce)酸(氫(qing)氟酸(suan)除外(wai))、堿、氧(yang)化劑(ji)和其(qi)它腐(fu)蝕性(xing)的氣(qi)體💚或(huo)液體(ti)的流(liu)量,适(shi)用于(yu)化工(gong)、制藥(yao)、造紙(zhi)、污水(shui)處理(li)等行(hang)☎️業。

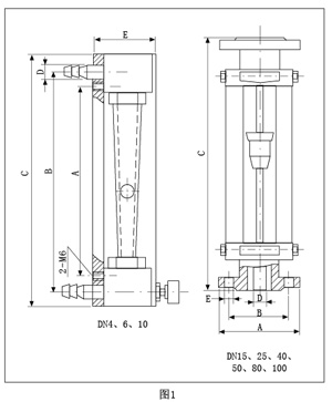
外(wai)形及(ji)安裝(zhuang)尺寸(cun)

原理(li)與結(jie)構
   不(bu)鏽鋼(gang)玻璃(li)轉子(zi)流量(liang)計由(you)一根(gen)自下(xia)而上(shang)擴大(da)的錐(zhui)🐉形玻(bo)管和(he)一隻(zhi)随流(liu)體流(liu)量大(da)小上(shang)下移(yi)動的(de)不鏽(xiu)鋼⛷️浮(fu)子組(zu)成(圖(tu)3)。流體(ti)自🔴下(xia)而上(shang)流經(jing)錐管(guan)時,流(liu)體動(dong)能在(zai)浮子(zi)上産(chan)生的(de)升力(li)S和流(liu)體的(de)浮力(li)A使浮(fu)子上(shang)升,當(dang)升😄力(li)S與浮(fu)力A之(zhi)和等(deng)于浮(fu)子自(zi)身重(zhong)力G時(shi),浮🛀子(zi)處于(yu)平衡(heng),穩定(ding)在某(mou)一㊙️高(gao)度位(wei)置上(shang),錐管(guan)上的(de)刻度(du)指示(shi)流體(ti)的流(liu)量值(zhi)。流量(liang)計中(zhong)浮子(zi)讀數(shu)位置(zhi)按圖(tu)2所示(shi):

   SK-LZB/LZB-( )F流量(liang)計的(de)錐管(guan)爲光(guang)滑内(nei)壁管(guan)(見圖(tu)4),通徑(jing)DN15以上(shang)的流(liu)量計(ji),浮子(zi)通過(guo)導杆(gan) 上下(xia)移動(dong),保持(chi)穩定(ding);SK-LZJ/LZJ-( )F流量(liang)計錐(zhui)管 内(nei)壁有(you)三條(tiao)導向(xiang)📧凸筋(jin),使浮(fu)子保(bao)持穩(wen)定(見(jian)圖4)。通(tong)徑DN10以(yi)下的(de)流量(liang)計采(cai)用軟(ruan)管連(lian)接,配(pei)有♌ 針(zhen)形流(liu)量調(diao)節閥(fa);通徑(jing)DN15以上(shang)流量(liang)🌈計采(cai)用法(fa)蘭連(lian)接。

接(jie)觸測(ce)量流(liu)體的(de)零部(bu)件材(cai)質


型(xing)号規(gui)格及(ji)技術(shu)參數(shu)

 版權(quan)所有(you):江蘇(su)省速惠自动化制造有限公司     技(ji)術支(zhi)持│易(yi)品網(wang)絡

·
·